Some 2015 Mazda MX-5 Miata vehicles built before Aug. 7, 2015, may exhibit a grinding noise from around the clutch pedal when depressing it all the way down.
A) Contact point between clutch pedal and pedal position switch; B) Clutch pedal; C) Pedal position switch; D) Starter interlock switch.
Photo courtesy of Mitchell 1
Degrease/clean the contact surfaces of the clutch pedal where the silicone pads will be applied. A) for pedal position switch and B) for the starter interlock switch.
Some 2015 Mazda MX-5 Miata vehicles built before Aug. 7, 2015, may exhibit a grinding noise from around the clutch pedal when depressing it all the way down. This is caused by a stick-slip noise occurring at the contact point between the clutch pedal and the clutch pedal position switch plunger and/or the clutch pedal and the starter interlock switch plunger.
To prevent this grinding noise, two pieces of silicone pad is attached to the clutch pedal where the two switches contact.
Photo courtesy of Motor Age
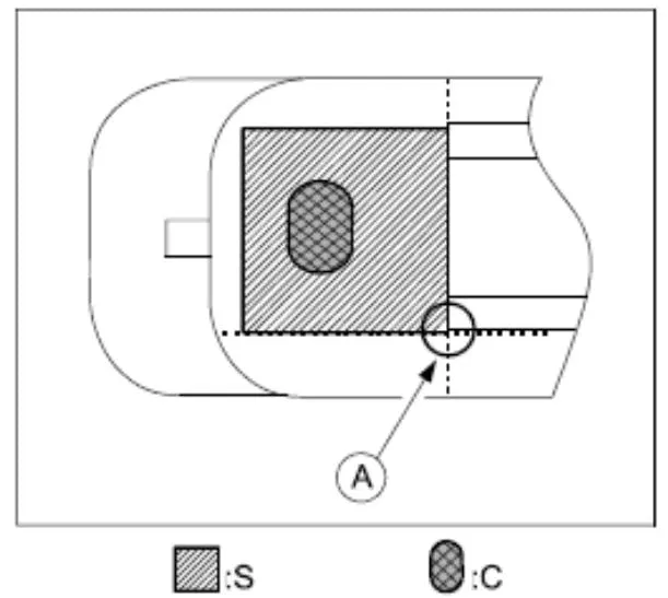
View of the silicone pad for the pedal position switch area. A) Align one corner of the pad with this point; B) View from bottom; C) Contact point of the switch plunger; S) Silicone pad.
Remove the clutch pedal position switch and the starter interlock switch. Degrease the surfaces of the clutch pedal where the silicone pads will be applied for the pedal position switch and the starter interlock switch.
Photo courtesy of Mitchell 1
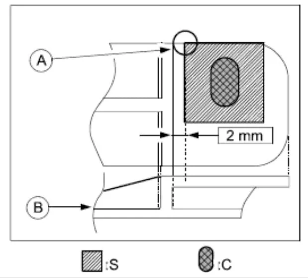
View of the pad at the starter interlock switch area. A) Align one corner of the pad with this point; C) Contact point for the interlock switch plunger; S) Silicone pad.
Peel off the protective foil and apply the two pads as shown here. Then install a NEW pedal position switch and NEW starter interlock switch.
Silicone pad (2)........................P/N N2Y0-43-7B4
Motor Age has been publishing technical content for professional automotive technicians since 1899. Our writers have decades of experience and scores of ASE certifications, and they continue to teach new generations of technicians via classrooms all around the globe, as well as through the books and training manuals they've authored.