Subaru changes diff plugs
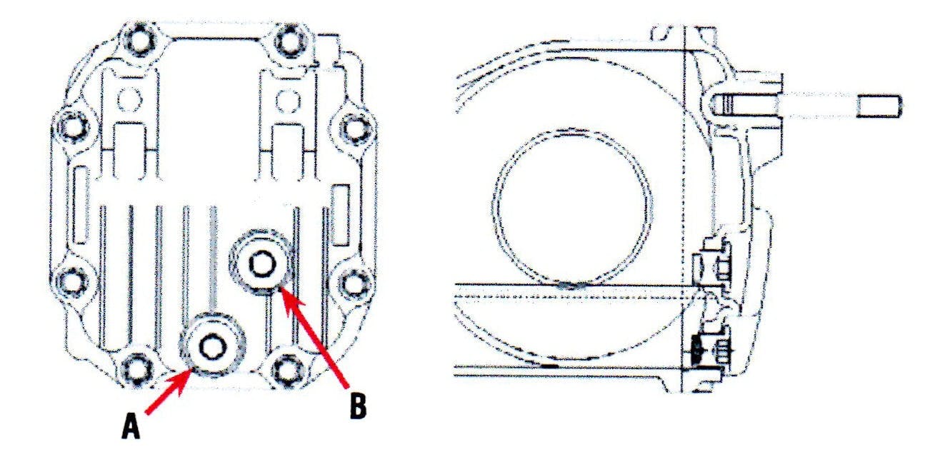
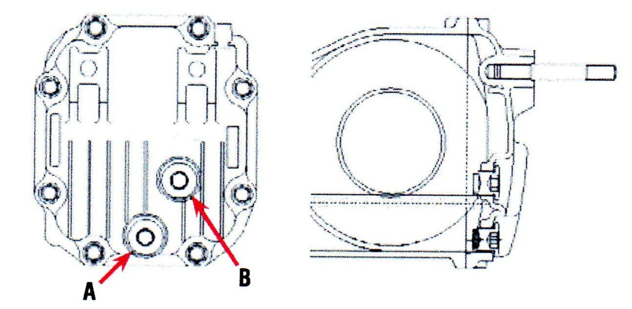
On 2009 and later Legacy vehicles equipped with VA1-type rear differential, the style of the rear differential filler and drain plugs has changed from a hexagon bolt to a hexagon socket bolt, along with the size of the holes in the rear differential cover. The torque specification also has changed. The new style plugs were used in production starting in September 2008.
PARTS INFORMATION
PARTÂ Â Â Â Â Â Â Â Â Â Â Â Â Â Â Â Â Â Â Â Â Â Â Â Â Â NEW P/NÂ Â Â Â Â Â Â Â Â Â Â Â Â Â Â Â Â Â Â Â OLD P/N INFORMATION
GSKT-18X24X10……803918060…............GSKT-20.5X26X1.5…..803920010
Plug Compl-drain M18….32103AA070.….Plug compl-drain M20…32103KA000
Plug-18X12 M18……..807018060….……Plug-20X14 M20…..807020010
Cover-diff carr M18…..38315AA012…..…Cover-diff carr M20….38315AA011
