Whistling Nissan Murano
The 2009 Nissan Murano may exhibit a whistle noise from the engine during light acceleration.
Unbolt the electronic throttle control actuator, but do not remove. Replace the actuator gasket. Reposition the actuator on the manifold and secure following the instructions listed here. Note that the repair of this issue involves repositioning of the actuator, not the replacement of the gasket. The gasket is replaced because the actuator is being unbolted from the manifold.
The replacement gasket is available as P/N 16175-JA10A.
- The ignition must remain OFF during this procedure to avoid storing DTCs. Remove the air cleaner upper and lower cases with the mass air flow sensor and air duct assembly. Reference EM-26 for an exploded view in the 2009 Murano service manual.
 - Disconnect the electric throttle control actuator harness connector.
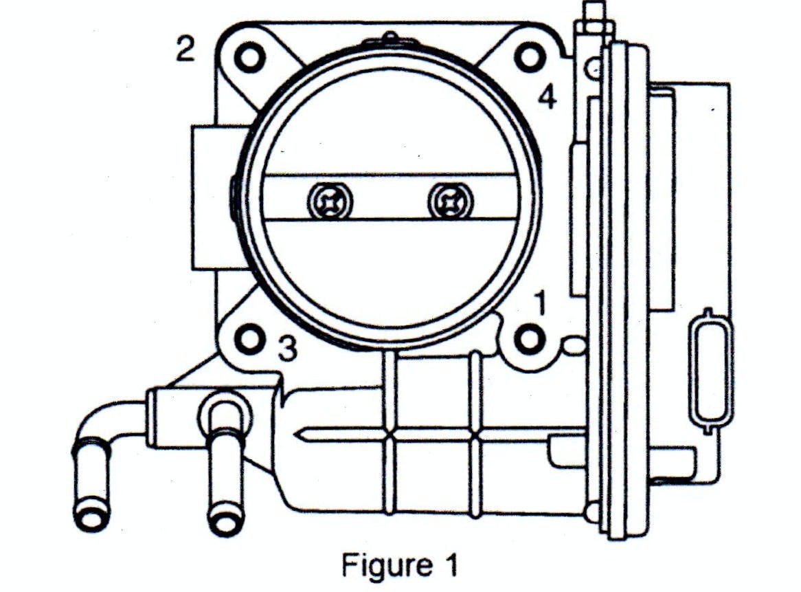
 - Loosen and remove the actuator bolts in the order shown (note the sequence numbers at the bolt holes). Be sure to handle the actuator carefully, and avoid shocks. Never disassemble the actuator.
 - Replace the actuator-to-manifold gasket.
 - Thread the actuator bolts in by hand until they are not quite finger-tight.
 - Slide the actuator up as far as you can on the bolts and hold it in this position.
 - While holding the actuator up, tighten the bolts to a value of 74 in.-lbs., in the tightening sequence shown here.
 - Reassemble in reverse order.
 
