The rebirth of the parallel hybrid powertrain
Content brought to you by Motor Age. To subscribe, click here.
What you will learn:
• Toyota/Lexus' new hybrid powertrain is of a parallel configuration
• The parallel hybrid powertrain assists the internal combustion engine (ICE) for increased torque output
• The vehicles use a 12V conventional starter assembly as a back-up for the HV starting system
With the exciting release of the 2022 Toyota Tundra Hybrid, the automotive industry will see the rebirth of the parallel hybrid powertrain system. This is done by sandwiching a 3-phase motor/generator (known as 1MG, for single motor generator, in Toyota terminology) between the internal combustion engine and a traditional automatic transmission. Like other hybrid platforms, the motor generator is used during low-speed driving and to aid the engine during high-load driving in situations such as towing.
The parallel hybrid system is a departure from the series-parallel hybrid that Toyota has become known for. To understand this change, it is beneficial to understand the differences between the three core types of hybrids currently on the road today.
Series, parallel & series-parallel hybrids
Toyota has led the hybrid market for years with the series-parallel configuration hybrid system used in most of the Toyota hybrids on the road. This started with Toyota Prius, the world's first mass-produced hybrid passenger vehicle released worldwide in 2001.
Series HV powertrain systems seen in Tesla vehicles use one or two motors to drive the vehicle’s wheels. Extended-range series hybrid systems also utilize a generator. The internal combustion engine drives a generator that will charge the high-voltage (HV) battery. The HV battery then has the energy to supply the motor to drive the wheels.
A series-parallel hybrid is possibly the most common hybrid on the road today, used by many manufacturers but made famous by the Toyota Prius. They consist of two motor-generator assemblies, referred to as MG1 & MG2. MG1 is responsible for starting the engine when operated as a motor. Through computerized switching circuits, MG1 can also be utilized as a generator by using the kinetic energy produced from the engine to create electrical energy and charge the HV battery (essentially operating as a standard alternator).
MG2 is used to drive the wheels of the vehicle when electrical energy is provided to the motor, or to generate electricity during deceleration (utilizing regenerative braking to charge the vehicle's high-voltage battery).
When MG2 is used as a motor, electrical energy is used to propel the vehicle. But during deceleration, the wheels drive the permanent magnetic rotor of MG2 and create electrical energy to recharge the HV battery.
In a series-parallel hybrid vehicle, the vehicle achieves movement through the electric motor output, the internal combustion engine output, or a combined effort from both. The power distribution between the engine and the electric motor is designed to keep the engine running in its optimum range, thereby increasing performance and reducing emissions.
The new Toyota hybrid platform named the 1MHV Hybrid System (currently used in the Tundra) is a parallel hybrid system. The engine benefits the most significant gains in the parallel hybrid system used in Toyota Tundra Hybrid systems. The single motor generator (1MG) can be used to supply tremendous torque to the wheels by using the electric motor to aid the engine during high-load conditions.
By adding the motor-generator assembly to the vehicle, torque is increased by over 100 lb.-ft when compared to the non-hybrid model, maxing out at 583 lb.-ft. The downside to this design is that the fuel mileage gains are not as drastic as what is usually expected from a typical series-parallel hybrid vehicle (only increasing fuel mileage by about 2 mpg during city driving).
System components
Front module assembly: The first substantial change in the Tundra hybrid system is the front module that holds the K0 clutch and the motor-generator assembly (1MG) and a dedicated valve body (Figure 1). The front module is between the engine and transmission (Figure 2).
The K0 clutch is a wet clutch used to blend the torque from the internal combustion engine (ICE) and the motor-generator. To apply the K0 wet clutch before the engine is started, the transmission is equipped with an electric pump, which allows the system to operate during engine starting and stop-start operation.
The K0 clutch also has a dedicated valve body within the front module assembly to increase clutch responsiveness. Within the valve body, two separate solenoids control torque depending on whether 1MG is starting the engine or the K0 clutch is transmitting engine torque to the transmission.
When it comes to servicing these components, there are few serviceable parts available. The valve body inside of the front module assembly can be replaced separately, otherwise, the entire front module assembly gets replaced as a unit. The unit comes with the K0 Clutch, valve body, and motor-generator assembly.
The front module assembly does have a separate service drain plug, so use caution when performing oil changes to not loosen the incorrect drain plug (Figure 3).
HV battery: When discussing system components and operation between a parallel hybrid system and other style hybrids, the components are not all that much different. The NiMH (nickel metal hydride) battery has a nominal voltage of 288VDC and 6.5 Ah. This voltage is created within the high-voltage battery by running 240 cells in series (each having 1.2 volts). Six cells are combined into one module pack, and there are 40 modules total within the battery (Figure 4).
The NiMH battery uses an alkaline electrolyte (by mixing potassium and sodium hydroxide) that is then absorbed into battery cell plates. This mixture should prevent any leakage from the battery including if a collision occurs.
Remembering back in the “olden days,” we were always told to use baking soda (which is an alkaline) to neutralize the high acidity of lead-acid batteries. But with the NiMH battery measuring a pH of 13.5 (which can damage the skin or eyes), we must use proper protective equipment in the rare case that spillage does occur. An acid (such as vinegar) can be used to neutralize the high-voltage battery leak.
The HV battery was found under the rear seat of the truck. The battery is cooled using two brushless motor cooling fans that use air from the passenger compartment under the rear seat. Obtaining the greatest cycle life for a NiMH battery requires temperature control. Luckily, NiMH batteries operate best in the same temperatures that we do, between 32°F-104°F.
So, by using the passenger compartment's HVAC system, we are also keeping the NiMH battery at its optimum temperature. There are also battery intake filters that are easily accessible (on the sides of the rear seats) and will need periodic cleaning to keep the cooling system working at its best.
Based on the experience from earlier model hybrids, these intake filters can easily become clogged with pet hair, lint from clothes, or dust and dirt. If they become too clogged, the battery will eventually start to overheat.
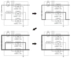
System main relays: Low voltage systems use the vehicle chassis for a ground path throughout the vehicle. But HV systems must be isolated from the rest of the vehicle. To accomplish this, large HV cables are run between the HV battery and the HV components. For added safety when the vehicle is “off” all high voltage must be contained within the HV battery. This is done using three power-side controlled system main relays: SMRB, SMRP, and SMRG.
When first “readying” on the vehicle the SMRB relay closes, followed shortly thereafter by the SMRP relay. The SMRB relay is connected to the positive side of the HV battery and the SMRP to the negative side (with a pre-charge resistor in series). This reduces current flow through the system while allowing the inverter capacitors to charge.
Once the capacitors are charged and no faults are detected, the SMRG relay will also close, now allowing current to bypass the pre-charge resistor. But because the capacitors are already charged, the contact points of the SMRG relay are protected from a rush of current. Lastly, the SMRP relay opens, and the vehicle is now “readied on” (Figure 5).
The inverter with converter assembly: The hybrid inverter is found under the hood of the Tundra and contains the inverter assembly, the MG ECU, and the DC/DC converter (Figure 6). Unlike recent Toyota hybrids, the Tundra Hybrid inverter does not have a boost converter. Within the inverter assembly, there are six insulated gate bipolar transistors (IGBT) that are used to convert DC electricity into three-phase electricity to drive the U, V, and W phases of the motor generator assembly.
The DC/DC converter works just like most other hybrid models and takes the high voltage stored within the HV battery and uses step-down transformers, rectifiers, and smoothing capacitors to drop the stored high voltage down to 14V (and 150A) to power all the low voltage accessories on the vehicle (like radios, power windows, wipers, etc.).
The DC/DC converter is also used to charge the 12V Lead-acid auxiliary battery also found underneath the Tundra's rear seat. Due to the placement of the 12V battery, the battery is also equipped with a vent to rid any fumes created by the aux. battery to the exterior of the truck.
With all the heat created by the inverter assembly, it has a dedicated cooling system including a separate radiator assembly and electric fan. By having a separate electric cooling fan from the engine’s mechanical cooling fan, the electric fan can be turned on to cool the inverter even when the engine is not running.
Driving Conditions
Now, let us dig into different driving conditions and how the motor generator comes into play! When first starting the engine, the front module (housing the motor-generator) is used to spin the engine. It does this by applying a wet KO clutch that engages the motor-generator.
Once the vehicle is idling and the state of charge of the HV battery is low, the K0 clutch engages the motor-generator, and the engine will spin the motor-generator’s permanent magnet rotor to create three-phase electricity (very much like a conventional alternator functions). The hybrid inverter must convert that three-phase electricity to charge the HV battery with a nominal voltage of 288VDC.
Once the transmission is in gear and the accelerator is lightly pressed, the K0 clutch (that locks the engine and 1MG together) disengages. Electrical energy supplied from the HV battery is supplied to the motor-generator to propel the vehicle forward using the high torque produced by 1MG.
After the vehicle reaches approximately 25 mph, the K0 clutch is re-engaged, locking the engine to 1MG to start the engine. With the engine and transmission locked together, the engine is used to drive the vehicle forward.
Keep in mind, when the voltage levels of the HV battery are low, the engine can also spin the rotor of 1MG while driving to charge the hybrid battery through the inverter assembly. As the driver increases throttle input, the 1MG can aid with acceleration.
Lastly, during deceleration, the K0 clutch will disengage to allow the drivetrain’s kinetic energy to spin the rotor of 1MG, producing electrical energy to charge the HV battery.
Starting & Start/Stop System Operation
With the constant need for better fuel mileage and reduced tailpipe emission numbers, manufacturers, including Toyota, have implemented start/stop systems into their vehicles.
While sitting at a red light, instead of idling and burning unnecessary fuel, the vehicle will shut the engine off if certain requirements are met. Some of the requirements include:
- The engine must be at operating temperature
- The heater switch must be off; The engine must be running to heat the passenger compartment.
- The HV battery must not have a low state of charge
- The vehicle cannot be in tow/haul mode
- The transfer case cannot be in 4H or 4L
- The shifter cannot be in sport mode If the hood is opened, the engine will not shut off due to safety reasons
There have been changes made to increase customer driving experience during start/stop events. The first concern that needed to be addressed was the time it took for the engine to start.
To combat this, the crankshaft position sensor angle gets stored as the engine is shut off. This allows the engine the ability to spray fuel and create ignition on the next cylinder about to fire, for faster starting.
A second issue that needed to be addressed was within the transmission. Without the engine running, a typical automatic transmission cannot create transmission fluid pressure because the fluid pump is not turning. So, to allow instant engagement inside of the transmission during engine start, the transmission is also equipped with an electric transmission fluid pump (in conjunction with a mechanical pump).
12V starter
Another unique feature of the Toyota Tundra Hybrid system is that it has a typical 12V starter motor installed as well (Figure 7). Most parallel or series-parallel hybrids including the Tundra use an MG to start the engine. But the Tundra also comes with a 12V starter, although it is not used often.
To prevent the starter from seizing from a lack of use, the starter is used for the first start-up every time the vehicle senses that the fuel door was opened and closed. If you happen to have a customer who experiences a slightly different starting sensation after startup, know that it could be because the starter is being used to start the vehicle instead of the hybrid motor. The starter is also used in cold temperatures. Once the temperature drops below 5 degrees F, the 12V starter is used to start the engine.
With that said, the 12V starter does have a service life. To prevent a situation where a customer’s vehicle shuts off during start/stop operation and does not restart, the vehicle keeps track of the starting events.
At 384,000 starting events, the 12V starter must be replaced. Once that threshold is hit, the vehicle will no longer go into start/stop mode and the engine will not shut off. The start/stop indicator on the dash will blink letting the customer know that the starter will need to be replaced. Once the starter is replaced, a scan tool will need to reset the start counter.
The stop/start ECU also has a service life. Once the stop/start ECU reaches 1,000,000 starting events, the ECU will also need to be replaced. Although (if I am being honest), it is hard to imagine that count being reached. But it is something to keep in mind.
Electrification is here to stay
Regardless of our views, electrified vehicles are going to be around for a while. It is not just Toyota that is releasing trucks with hybrid packages. Stellantis is now delivering Rams with its optional 48v eTorque optional package. And General Motors is releasing the Hummer EV. It is safe to say that these vehicles are going to eventually be rolling into our bays with failures, so it is best to become familiar with how these systems and how they operate so that when we see a failure, we have the knowledge and ability to properly and safely diagnose and repair them.
About the Author
P.J. Walter
P.J. began his career after attending Forbes Road Career & Technology Center in Monroeville, Penn. After graduating in 2005, he started working as a technician at a Saturn dealership for two years before transitioning in 2007 to a Toyota dealership. He quickly became an ASE certified Master technician and obtained certifications for Advanced Engine Performance, Light Duty Hybrid/Electric Vehicles and advanced driver assistance systems through ASE. He later became a Toyota Master Diagnostic technician, the highest certification offered by Toyota, and was selected for the Toyota Quality Champions program.
Today, PJ is an instructor with Worldpac Training Institute and continues to share his love and passion for the industry with technicians across the country. P.J. also started a mobile programming and diagnostic business, providing technical solutions and support to independent repair shops.







