Turbo Oil Starvation
This bulletin applies to select GM vehicles equipped with LBZ, LB7, LLY or LMM 6.6L Duramax diesel engines. This includes 2001-2009 Chevy Silverado, 2003-2009 Chevy Kodiak C4500-C5500 series, 2006-2009 Chevy Express, 2001-2009 GMC Sierra, 2003-2009 GMC TopKick C4500-C5500 series and 2006-2009 GMC Savana.
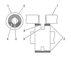
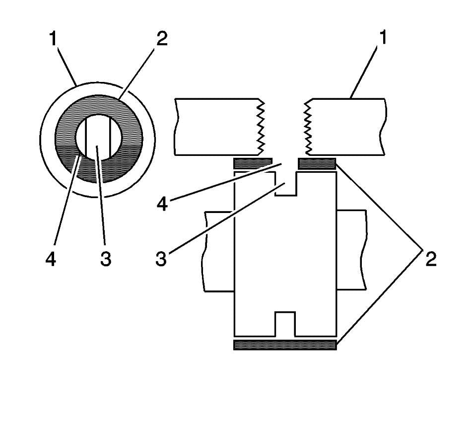
Spun camshaft bearing
If a turbocharger performance concern is thought to be caused by a deficiency of oil, the camshaft bearings should be checked. The number 4 camshaft bearing bore feeds the turbocharger engine oil supply hose. If this cam bearing spins in its bore, the turbocharger will be deprived of engine oil. Incorrect diagnosis of this condition will result in a repeat fault to the turbocharger.
If the turbocharger must be replaced, perform the following procedure in order to verify the condition of the number 4 camshaft bearing before installing a new turbo.
1. Remove the turbocharger.
2. Remove the turbocharger oil supply hose.
3. Visually inspect for correct alignment of the number 4 camshaft bearing oil hole through the turbocharger oil supply hole in the block. The camshaft journal oil groove should be visible through the camshaft bearing oil hole.
4. Turn the engine over by hand ½ turn. The camshaft journal oil groove should still be visible through the camshaft bearing oil hole as the engine is turned.
5. If the camshaft bearing has spun, the camshaft bearing oil hole will either not be visible at all or it will be misaligned with the turbocharger oil supply hole during the inspection. In the event of a spun camshaft bearing, the engine must be rebuilt or replaced.
